QR-kod
Produkt
Kontakta oss


Fax
+86-574-87168065

E-post

Adress
Luotuo Industrial Area, Zhenhai District, Ningbo City, Kina
Om du kör tunga maskiner - som stålrullande fabriker som tappar ut metall, skift, kranar som lyfter massor av material eller gruvutrustning som kämpar med damm och tryck under jord - behöver du en koppling som inte låter dig ned. Det är exakt vad Raydafons SWC-BH Standard Flex Welding Type Universal-koppling är byggd för: tillförlitlig vridmomentöverföring, även när jobbet blir grovt.
Först och främst, låt oss prata om dess design. Det svetsade ok är inte bara en funktion-det är en spelväxlare. Till skillnad från bultade ok som kan lossa över tiden, är den här svetsade fast, så det finns ingen risk för att delar skakar loss när dina maskiner arbetar hårt. Och det passar också en rad inställningar, med gyrationsdiametrar från 180 mm till 620 mm-inget behov av att jaga efter ett alternativ i en storlek. Som en vanlig flex universalkoppling hanterar den upp till 15 grader av vinkelfel, vilket innebär att om dina axlar inte är perfekt uppradade (och låt oss vara verkliga, de är sällan), håller det fortfarande kraften i rörelse. Även när vridmomentet träffar 1250 kN · m - allvarlig kraft - förblir det jämnt, inga stammare, inga droppar.
Vi skimpade inte heller på material. Den här saken är gjord med 35CRMO-stål-höga styrka saker som motstår slitage, även när det blir slagen i en gruva eller värms upp nära en rullande kvarn. Dessutom lägger vi in precisionsnålslager, så det rör sig smidigt, skär ner friktion och varar långt längre än billigare kopplingar. Det är därför det är en go-to för universella kopplingar för tunga maskiner-det fungerar inte bara i några veckor; Det fastnar och håller din utrustning igång. Och om du behöver svetsade universella kopplingar för industriella applikationer? Detta är det - de svetsade designen hanterar vibrationer och stress bättre än bultade alternativ, så att du lägger mindre tid på att fixa och mer tid på att arbeta.
På Raydafon gör vi dessa i Kina, men vi klipper inte hörn på kvalitet. Varje steg följer ISO 9001 -standarder - vi kontrollerar stålet, vi inspekterar svetsarna, vi testar lagren - så du vet att du får en koppling som uppfyller regler för global kvalitet. Och om din installation är lite annorlunda? Vi gör anpassade tweaks - justera storleken, finjustera specifikationerna - vad du än behöver för att få det att passa. Bästa delen? Det är inte prissatt som en lyxdel. Du får en hållbar universell koppling som fungerar hårt utan att betala en förmögenhet. För alla som inte har råd med stillestånd är denna SWC-BH-koppling den typen av pålitliga bitar som håller din maskin att röra sig, dag in och dag ut.
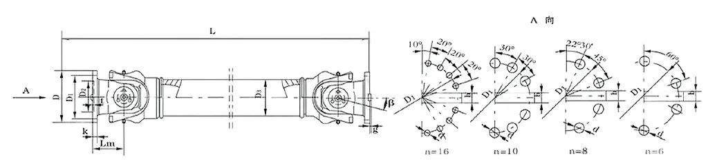
| Inga. | Gyrationsdiameter D mm | Nominell vridmoment Tn Kn · m | Axlar vikvinkel β (°) | Trötta vridmoment Tf Kn · m | Storlek (mm) | Tröghet kg.m2 | Vikt (kg) | |||||||||||
| Lmin | D1 (JS11) | D2 (H7) | D3 | Lm | n-d | k | t | b (H9) | g | Lmin | Öka 100 mm | Lmin | Öka 100 mm | |||||
| SWC100WH | 100 | 1.25 | 0.63 | 25 ° | 243 | 84 | 57 | 60 | 55 | 6-9 | 7 | 2.5 | - | - | 0.0039 | 0.00019 | 4.5 | 0.35 |
| SWC120WH | 120 | 2.5 | 1.25 | 25 ° | 307 | 102 | 75 | 70 | 65 | 8-11 | 8 | 2.5 | - | - | 0.0096 | 0.00044 | 7.7 | 0.55 |
| SWC150WH | 150 | 5 | 25 | 25 ° | 350 | 130 | 90 | 89 | 80 | 8-13 | 10 | 3 | - | - | 0.371 | 0.00157 | 18 | 24.5 |
| SWC180WH | 180 | 12.5 | 6.3 | 25 ° | 180 | 155 | 105 | 114 | 110 | 8-17 | 17 | 5 | - | - | 0.15 | 0.007 | 48 | 2.8 |
| SWC225WH | 225 | 40 | 20 | 15 ° | 520 | 196 | 135 | 152 | 120 | 8-17 | 20 | 5 | 32 | 9 | 0.365 | 0.0234 | 78 | 4.9 |
| SWC250WH | 250 | 63 | 31.5 | 15 ° | 620 | 218 | 150 | 168 | 140 | 8-19 | 25 | 6 | 40 | 12.5 | 0.817 | 0.0277 | 124 | 5.3 |
| SWC285WH | 285 | 90 | 45 | 15 ° | 720 | 245 | 170 | 194 | 160 | 8-21 | 27 | 7 | 40 | 15 | 1.756 | 0.051 | 185 | 6.3 |
| SWC315WH | 315 | 125 | 63 | 15 ° | 805 | 280 | 185 | 219 | 219 | 10-23 | 32 | 8 | 40 | 15 | 2.893 | 0.0795 | 262 | 8 |
| SWC350WH | 350 | 180 | 90 | 15 ° | 875 | 310 | 210 | 267 | 194 | 10-23 | 35 | 8 | 50 | 16 | 5.013 | 0.2219 | 374 | 15 |
| SWC390WH | 390 | 250 | 125 | 15 ° | 955 | 345 | 235 | 267 | 215 | 10-25 | 40 | 8 | 70 | 18 | 8.406 | 0.2219 | 506 | 15 |
| SWC440WH | 440 | 355 | 180 | 15 ° | 1155 | 390 | 255 | 325 | 260 | 16-28 | 42 | 10 | 80 | 20 | 15.79 | 0.4744 | 790 | 21.7 |
| SWC490WH | 490 | 500 | 250 | 15 ° | 1205 | 435 | 275 | 325 | 270 | 16-31 | 47 | 12 | 90 | 22.5 | 26.54 | 0.4744 | 1014 | 21.7 |
| SWC550WH | 550 | 710 | 355 | 15 ° | 1355 | 492 | 320 | 426 | 325 | 16-31 | 50 | 12 | 100 | 22.5 | 48.32 | 1.357 | 1526 | 34 |
Om du är trött på att hantera noga kopplingar som bromsar ditt arbete eller bryter när du behöver dem mest, är Raydafons SWC-wh utan flexsvetsning av universalkoppling en spelväxlare. Det är packat med förmåner som gör det till ett toppval för alla som behöver smidig vridmomentöverföring i mekaniska system - inga förvirrande svetssteg, bara solid prestanda som passar rätt in i ditt arbetsflöde.
Först och främst är det mycket lättare att installera den här saken än du kanske tror. Till skillnad från svetsade kopplingar som tvingar dig att ta in extra verktyg eller vänta på att svetsar ska ställas in använder SWC-wh en bult-on-design. Du kan spela in den i din befintliga installation snabbt, och när det är dags för underhåll? Att ta isär är en bris, så din industriutrustning spenderar mindre tid på tomgång. Det är därför det är en så stor mångsidig universell kopplingskoppling-inte längre huvudvärk, bara komma in, fixa vad du behöver och komma tillbaka till jobbet.
Hållbarhetsmässigt är det byggt för att tuffa det. Vi använder tunga material som hanterar stora laster och konstant vibrationer utan flinch-perfekt för upptagna industriella platser där utrustning aldrig riktigt får en paus. Och eftersom det inte finns någon svetsning behöver du inte oroa dig för de svaga fläckarna som dyker upp när svetsarna sliter över tiden. Detta är inte en koppling som kommer att behöva ersätta med några månader; Det är en pålitlig universell ledkoppling för industrimaskiner som sticker runt och håller din verksamhet stabil.
Felanpassningar? inga problem. Axlar förblir aldrig perfekt uppradade, särskilt i bil- eller transportsystem, men SWC-wh hanterar vinkel-, axiella och radiella avvikelser som en proffs. Det är den typen av drivaxel Universal Joint -koppling som håller kraften rörande smidigt även när justeringen blir vanvittig - inga ryck, inga droppar, bara konsekvent prestanda.
Och låt oss prata. Svetsning lägger till extra arbetskraft och materiella avgifter, men den här kopplingen hoppar över allt detta. Du får en kvalitetsprodukt utan överutgifter, vilket är en stor vinst för alla budgetar. Även i knepiga platser som marina inställningar, där korrosion är ett ständigt hot, håller det upp som en pålitlig marin universell fogkoppling - mycket mot saltvatten, lätt på din plånbok.
Om du är i förnybar energi, passar denna koppling också rätt in. Det är en solid universell ledkoppling för utrustning för förnybar energi som rör sig effektivt, med knappt avfall. Dessutom är det lätt, så det väger inte ner ditt system - riktigt för att hålla saker som går på ett hållbart sätt utan att offra prestanda.
På Raydafon säljer vi inte bara kopplingar - vi gör de som passar dina behov. SWC-wh är anpassningsbar, så det fungerar exakt hur du vill ha det. Om du är nyfiken på hur det kan göra din verksamhet jämnare, bara slå upp vårt team. Vi kommer att leda dig genom det, ingen jargong - bara rakt prat om vad denna koppling kan göra för dig.
Raydafons SWC-wh utan flexsvetningstyp Universal-koppling fungerar av den grundläggande kunskapen om Cardan Joint Mechanics-men vi har justerat den för att slå hårdare för industriella jobb. Hela poängen? Få vridmoment som rör sig smidigt mellan två axlar som inte är perfekt uppradade, även när de är i vinkel. Som en specialbyggd SWC Cardan Shaft Universal Joint-koppling använder den en tvärformad bit i mitten för att hålla rotationskraften flödande stabil-exakt varför det är en så go-to high-torque universal fog-koppling för tuffa arbete som rullande kvarnar eller lyftmaskiner.
Låt oss bryta ner kärnan i hur det fungerar: det finns två gaffelade ok, och de är anslutna med ett centralt kors (vi kallar det en spindel). Denna inställning låter Yokes pivot i flera riktningar - så även om axlarna är kompenserade med upp till 25 ° (det är dess maxxelfoldvinkel), blir vridmoment fortfarande jämnt. Det har också specifikationer för att säkerhetskopiera det: Gyrationsdiametrar sträcker sig från φ58 till φ620, och det hanterar nominellt vridmoment från 0,15 till 1000 kN · m. När du använder den som en tung universell fogkoppling för rullande kvarnoperationer, betyder denna design att ingångsrotation förvandlas till utgångsrörelse utan problem-de ledade lederna svänger på egen hand för att kompensera för felanpassningar, inga avbrott.
Vad gör delen "utan flexsvetsning"? Vi bytte ut svetsar för bultade eller klämda anslutningar. Svetsar kan vara svaga platser över tid, men dessa fästelement minskar felrisker - och de gör det lättare att sätta ihop kopplingen. Denna industriella universella fogkoppling har också en uppgraderad gaffelhuvuddesign som hindrar bultar från att lossa upp, vilket ökar sin strukturella styrka med 30%-50%. Det är en stor sak för krävande platser som gruvor eller byggarbetsplatser, där det fungerar som en hållbar SWC Universal Joint Shaft -koppling - som håller upp under tunga laster utan att ge ut.
Effektivitet är en annan vinst här: det träffar upp till 98,6% överföringseffektivitet. Vi konstruerade alla delar för att minska friktion och energiavfall-så det är ingen överraskning att det är en effektiv universell ledkoppling för stor kraftöverföring i högeffektiva industriella inställningar. Och det går tyst: vanligtvis 30-40 dB (A). Det är tack vare balanserad rotation och inbyggd vibrationsdämpning-vilket gör det till en universell koppling med låg brus för platser där brus är ett problem. Dessutom håller det energikostnaderna nere, så att den kontrollerar lådan för energibesparande universella fogkopplingsbehov också.
I tunga maskiner för universella fogskopplingssystem är det mest viktigt: SWC-wh sprider sig jämnt över alla dess delar. Ingen enda bit tar för mycket belastning, vilket innebär färre nedbrytningar och en längre livslängd. På Raydafon bygger vi inte bara denna koppling för att möta specifikationer - vi skräddarsyr den för att arbeta för ditt jobb, vare sig det är robusta tunga maskiner eller specialiserade industriella inställningar. Om du vill finjustera det så att ditt system körs smidigare eller håller längre, bara prata med vårt team - vi hjälper dig att få en installation som passar exakt vad du behöver.
⭐⭐⭐⭐⭐ Zhang Wei, mekanisk ingenjör, Peking Industrial Machinery Co., Ltd.
Vi har haft Raydafons SWC-wh utan flexsvetningstyp Universal-koppling på vår produktionsutrustning i några månader nu, och det har varit en stadig artist-särskilt när vi driver våra maskiner för att hantera höga belastningar. Det jag verkligen uppskattar är dess robusta byggnad: även på de långa, krävande skiften där andra delar kan börja vackla, denna koppling håller saker och ting smidiga - inga slumpmässiga vibrationer, inga plötsliga misslyckanden som kastar hela linjen.
Installationen var också en bris. Vårt team behövde inte spendera timmar på att räkna ut komplexa steg; Vi fick det monterat snabbt och behövde inte finjustera det sedan. För tungutrustning som vår är tillförlitlighet och kvalitet inte förhandlingsbar, och denna koppling kontrollerar båda rutorna. Raydafons bevisade att de är en partner som vi kan räkna med här - vi är verkligen nöjda med hur den här produkten håller på.
⭐⭐⭐⭐⭐ John Smith, anläggningschef, Florida Manufacturing, USA
Jag tog Raydafons SWC-WH-koppling i bruk på vår Florida-anläggning för några månader tillbaka, och det har varit exakt vad vi behövde-enkla, no-fuss och konsekvent effektiva. Kraftöverföring förblir stabil, vilket är nyckeln för att hålla vår produktion i takt, och vi behövde inte röra den för underhåll en gång. Det är en stor vinst för oss; Mindre tid att fixa delar innebär mer tid att få arbete.
Även när vi kör maskinerna hårt, under hög stress, flinar inte denna koppling - det fortsätter bara. Installationen var också enkel; Våra tekniker hade satt upp på nolltid. Och när du kopplar ihop den prestandan med ett rimligt pris? Det är ett fast värde. Dessutom var Raydafons kundsupport förstklassig när vi hade en snabb fråga-de kom tillbaka till oss snabbt. Utan tvekan kommer vi att fortsätta använda sina produkter längs linjen.
⭐⭐⭐⭐⭐ Roberto Silva, Operations Director, São Paulo Engineering Solutions, Brasilien
Vi har samarbetat med Raydafon ett tag nu, men deras SWC-wh utan flexkoppling har verkligen stått ut i vår verksamhet-det har bevisat att det är värt gång på gång. Det första du märker är dess solida konstruktion; Det känns byggt för att hålla, och det innebär tillförlitlig prestanda på våra maskiner.
Innan vi bytte till denna koppling, hade vi att göra med ofta driftstopp från felanpassningsproblem och för tidigt slitage på våra gamla delar. Nu? Dessa problem är borta. Det har minskat vår driftstopp, vilket har varit ett enormt uppsving för produktivitet. Och installation? Super Easy - vårt team slösade inte tid på felsökning. För alla företag som behöver kraftöverföringsdelar de kan lita på är den här en no-brainer. Jag skulle absolut rekommendera det.
⭐⭐⭐⭐⭐ Peter Müller, teknisk handledare, Stuttgart Manufacturing GmbH, Tyskland
Vi har använt Raydafons SWC-WH-koppling i vår produktionsanläggning för Stuttgart i över sex månader, och det har varit felfritt-allvarligt, inte en enda fråga hela tiden. Dess design är enkel, vilket gör installationen till en cinch; Vårt team hade det monterat och redo att gå på nolltid, inga komplicerade steg eller specialverktyg behövs.
Men det som verkligen imponerar mig är kvaliteten. Svetsningen är ren och stark, och materialen känns högklassig-du kan säga att de inte klippte hörn. Det hålls perfekt under regelbunden användning, visar noll tecken på slitage även efter månader med kontinuerlig drift. Vi är mer än nöjda med hur den här produkten presterar, och den finns redan på vår lista att använda för framtida projekt.
Adress
Luotuo Industrial Area, Zhenhai District, Ningbo City, Kina
Tel
E-post


+86-574-87168065


Luotuo Industrial Area, Zhenhai District, Ningbo City, Kina
Copyright © Raydafon Technology Group Co., Limited alla rättigheter reserverade.
Links | Sitemap | RSS | XML | Sekretesspolicy |
